以上图文为广告
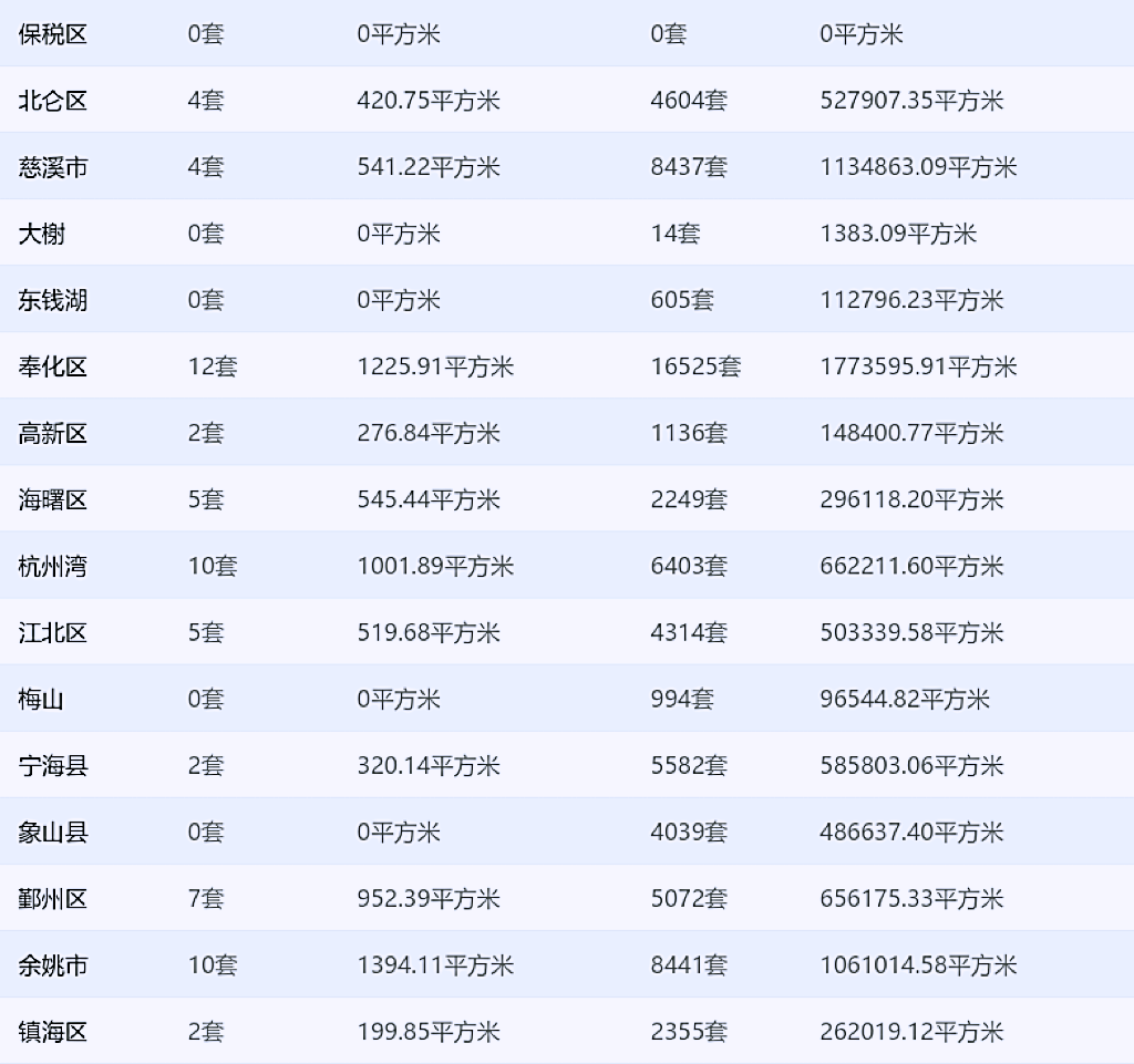
宁波全市成交数据
根据宁波市房产信息交易服务网显示,2023年12月5日(截止22:00)全市住宅网签共计63套(住宅)成交总面积:7398.22平方米,目前全市可售套数为:70770套,可售面积为:8308810.13平方米。
区域成交
宁波市全市成交63套,其中市六区共成交: 35套,分别海曙区成交5套,鄞州区成交7套,江北区成交5套,北仑区成交4套,镇海区成交2套,奉化区成交12套。

数据来源于:宁波市房产信息交易服务网仅供参考
楼盘成交套数

数据来源于:宁波市房产交易信息服务网仅供参考



获取更多视频干货